搜课程

还未选购课程

当前位置 > 实时新闻

宁波2020年二级注册建筑师考试成绩合格名单已公布2021-01-13 15:49:53

实时新闻

分享到

     建培小编从宁波人事考试获悉,关于2020年二级注册建筑师考试成绩合格名单已经公布,其公示时间为10天。

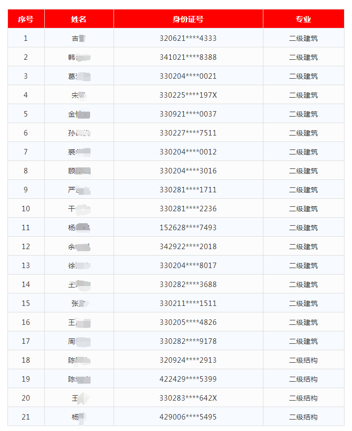
2020年度二级注册建筑师、二级注册结构工程师


执业资格考试成绩合格人员公示

      根据《司法部关于印发开展证明事项告知承诺制试点工作方案的通知》(司发通[2019]54号)、《人力资源社会保障部办公厅关于印发<人力资源社会保障系统开展证明事项告知承诺制试点工作实施方案>的通知》(人社厅发[2019]71号)、《关于2020年度全国一、二级注册建筑师资格考试有关工作的通知》(浙设执委[2020]1号)及《关于2020年度全国勘察设计注册工程师执业资格考试有关工作的通知》(浙设执委[2020]2号)的规定和要求,对2020年度宁波市二级注册建筑师与二级注册结构工程师执业资格考试成绩合格拟取得证书(证明)人员予以公示。

      名单所列人员在考试报名时均签署了《专业技术人员资格考试报名证明事项告知承诺制报考承诺书》,承诺已经符合告知的考试报名条件,承诺所填报和提交的所有信息真实、准确、完整、有效,愿意承担虚假承诺的责任,并接受相应处理。

      公示期为十天,期间集中接受对成绩预合格人员的监督举报,对虚假承诺行为,一经查实,将按相关规定处理。

举报电话:0574-87199306  

2020年度全国二级注册建筑师、二级注册结构工程师
执业资格考试成绩合格人员公示名单

(宁波市)

2020年度全国二级注册建筑师、二级注册结构工程师执业资格考试,宁波市成绩预合格人员共计21名,合格人员不再进行现场审核,采用线上审核方式,对于考试资格条件存疑的考生将以电话告知的形式进行现场人工复查。

微信扫一扫,报考资讯抢先知!

版权所有 ©1997 - 2019 北京建培教育咨询有限公司 增值电信业务经营许可证:京B2-20182162 京ICP备12031593号-4 京公网安备 11010602100397号   监督电话 010一59494419

登录成功

绑定手机号
找回密码

在线咨询

咨询热线
010-85964627、85970242

App下载

扫描下载App

公众号

扫描关注微信公众号

小程序

扫描关注小程序

购课、看视频
尽在小程序